适用于 Alloway S15CD、S20CD、S22CD、S25CD、S27CD 型粉碎机的动力输出轴
正在寻找适用于 Alloway 碎枝机的可靠动力输出轴 (PTO) 吗?CMN Transmission 提供专为 Alloway 碎枝机 S15CD、S20CD、S22CD、S25CD 和 S27CD 型号设计的重型动力输出轴。这款农业动力输出轴可替代 Weasler 55N 系列动力输出轴,配备 20 齿花键、1.750 英寸大径连接的超越离合器,在 540 转/分和 1000 转/分时均能提供卓越的扭矩传输。55N 系列的贯穿螺栓式超越装置可保护您的拖拉机和农具免受高强度田间作业中常见的冲击载荷和超越工况的影响。
适用于Alloway碎枝机型号的可靠动力输出轴
适用于 Alloway 碎枝机型号:S15CD、S20CD、S22CD、S25CD、S27CD 的动力输出轴
CMN Transmission 为 Alloway S15CD、S20CD、S22CD、S25CD 和 S27CD 型粉碎机提供的动力输出轴 (PTO) 是一款精密设计的拖拉机动力输出轴,可直接替换原装 Weasler 55N 花键式动力输出轴传动总成。该动力输出轴兼容两点式和三点式悬挂配置以及拖曳式 Alloway 粉碎机,并提供 540 转/分和 1000 转/分两种转速规格,以匹配您拖拉机的动力输出。55N 贯穿螺栓式超越装置可消除反冲,并保护传动系统部件免受突发冲击载荷的影响,使其成为全球依赖 Alloway 粉碎设备在恶劣田间条件下作业的农民和农业承包商的首选动力输出轴。
这款专为严苛的田间作业环境而设计的割草机动力输出轴,在作物秸秆粉碎、牧场维护、路边清理、果园和葡萄园养护以及沟渠边坡修剪等多种应用中表现出色。其20齿花键、1.750英寸大径接口,确保与无槽Alloway割草机输入轴实现牢固且无振动的连接,这对于超越离合器的功能至关重要。CMN Transmission生产的每根割草机动力输出轴均通过ISO 9001和CE认证标准的严格质量检验,并拥有多年OEM和售后市场制造经验的支持。无论您是更换磨损的原装部件,还是升级到更坚固耐用的Weasler动力输出轴,CMN Transmission都能提供您所需的精准匹配、耐用性和价值。

Alloway 碎枝机在机具连接处使用各种类型的离合器。某些离合器高度专用,必须更换为相同的部件,而另一些离合器则更通用,可以更换为多种可选部件。需要考虑的关键因素是输入轴是否像拖拉机动力输出轴 (PTO) 的输出轴一样带有凹槽。

如果没有凹槽,则必须更换相同的离合器。超速保护比扭矩保护更重要。
三点式装配
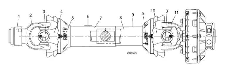
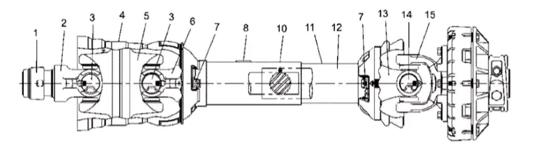
Alloway碎枝机动力输出轴,适用于两点式和三点式附件,Weasler 55N花键动力输出轴

组件适用于 540 转/分和 1000 转/分两种转速——请联系我们获取所需规格。
拉式
Alloway Shredder PTO 拖挂式连接器,Weasler 55N CV 花键 PTO

55N 螺栓穿透式过盈装置,适用于无槽轴
| 规格 | ||
![]() | 零件类型: | 溢出装置 |
| 系列: | 55N | |
| 大径: | 1.750 | |
| 样条曲线数量: | 20 | |
| cuj-end: | 8.75 | |
| 联系: | 穿透螺栓 | |
| 风格: | 内螺栓 | |
阿洛威粉碎机动力输出轴的特点
1. 55N超越离合器保护
Weasler 55N 内螺栓式超越装置专为无槽的 Alloway 粉碎机输入轴而设计。与扭矩限制式滑移离合器不同,该超越装置可防止操作员断开动力输出轴 (PTO) 时,机具的惯性反向驱动拖拉机传动系统,从而保护拖拉机变速箱、万向节和动力输出轴轭在重型粉碎作业中常见的减速循环中免受灾难性损坏。
2. 双转速兼容性(540 和 1000)
这款传动轴提供 540 转/分和 1000 转/分两种动力输出轴配置,可与所有与 Alloway S 系列粉碎机配套使用的拖拉机完美匹配。无论您的拖拉机是 540 转/分用于轻型作业,还是 1000 转/分用于高产能商业粉碎作业,CMN Transmission 都能提供规格合适的动力输出轴,确保所有 Alloway S15CD 至 S27CD 型号的刀片都能保持最佳刀尖速度和切割效率。
3. 内嵌式螺栓设计
贯穿螺栓内嵌式连接方式提供了卓越的夹紧强度和现场维修便利性。与压入配合或焊接组件不同,贯穿螺栓设计无需专用工具即可轻松现场更换超速装置。20齿花键、1.750英寸大径的孔径确保了Alloway粉碎机输入轴近乎零间隙配合,从而最大限度地减少了振动、噪音以及动力输出轴万向节和动力输出轴轭件的过早磨损。
4. 包含重型动力输出轴护罩
每套重型动力输出轴组件均包含符合CE安全标准的全长动力输出轴防护罩和动力输出轴盖。坚固的防护罩组件可防止田间作业时发生缠绕危险,并保护动力输出轴管和轴套在粉碎作业过程中免受碎屑冲击损坏。防护罩采用与所有Alloway S系列粉碎机挂钩框架兼容的标准链条固定系统牢固固定。
5. 多功能挂钩
这款拖拉机动力输出轴专为三点式悬挂的Alloway碎枝机和牵引式碎枝机设计,牵引式碎枝机配备等速万向节(CV接头)。等速万向节可消除在不平坦地形上进行角度作业时的传动系统振动,使其成为山坡牧场维护、沟渠清理以及碎枝机相对于拖拉机轴线大幅转动的地形起伏作业的理想选择。
6. 通过 ISO 9001 和 CE 认证的质量管理体系
CMN Transmission 的定制动力输出轴产品均严格按照 ISO 9001 质量管理体系和 CE 认证标准生产。每台农用发动机都用于农业机械。 动力输出轴 所有动力输出轴部件在发货前均经过尺寸检验、花键规验证、扭矩测试和表面处理审核。我们的动力输出轴部件符合或超越原厂规格,可直接替换 Weasler 品牌部件,且价格远低于原厂部件。此外,我们还可根据您所需的动力输出轴尺寸和长度定制动力输出轴。

甩刀式粉碎机动力输出轴的工作原理是什么?
1. 输电线路
动力输出轴(PTO)与拖拉机的连接始于拖拉机后部的动力输出轴,此处有一个弹簧式快拆环,可将PTO传动轴的内花键轭架锁定到拖拉机的6齿或21齿输出轴上,具体取决于拖拉机的配置。发动机扭矩以选定的PTO转速(540转/分或1000转/分)通过花键轭架的外轮廓传递到伸缩式PTO轴管组件。该伸缩式轴管由一个内轮廓管和一个外轮廓管组成,内轮廓管在外轮廓管内滑动,使得PTO轴的总长度能够随着粉碎机在不平坦的地形上升降而伸缩,而不会中断扭矩的传递。
2. 万向节角度补偿
在动力输出轴(PTO)轴管的两端,十字轴承式PTO轴万向节(U型接头)允许轴通过拖拉机PTO轴线和粉碎机输入轴线之间的角度偏差来传递扭矩。对于三点式悬挂的Alloway S系列粉碎机,标准的双万向节轴可以应对通常遇到的较小铰接角度。对于牵引式Alloway粉碎机,拖拉机端的等速万向节(CV)组件可以消除较大铰接角度下出现的速度波动,即使在粉碎机偏离拖拉机中心线较大的情况下,也能确保平稳无振动地传递动力。
3. 超越离合器功能
对于Alloway碎枝机而言,动力输出轴(PTO轴)中最关键的部件是位于轴组件机具端的Weasler 55N超越装置。与带有滑动离合器的PTO轴或滑动离合器PTO轴(可防止过载扭矩)不同,超越装置经过专门设计,可防止机具反向驱动拖拉机传动系统。Alloway甩刀式碎枝机的转子组件具有很大的旋转惯性。当拖拉机操作员断开PTO时,由于储存的动能,转子会继续旋转数秒。如果没有超越装置,这种旋转质量会迫使拖拉机传动系统反向旋转,从而对PTO变速箱、传动轴万向节和变速箱内部零件造成严重损坏。 55N 超越离合器采用棘爪或凸轮滚子机构,仅沿一个方向(拖拉机到农具)传递扭矩,而沿另一个方向(农具到拖拉机)自由旋转,从而将拖拉机与粉碎机的残余惯性完全隔离。
4.动力输出轴防护安全系统
整个旋转组件被一个多段式动力输出轴防护罩和动力输出轴盖包裹,防护罩和盖板根据组件配置的不同,采用高密度聚乙烯 (HDPE) 或钢材制成。防护罩两端由滑动轴承支撑,使其在内轴以全速动力输出轴旋转时保持静止。连接到拖拉机和农具上防护罩固定点的固定链可防止轴承卡死时防护罩旋转。这套符合 CE 标准的安全系统可保护操作人员和旁观者免受在田间作业时与旋转动力输出轴接触的极端危险,尤其是在衣物松散、作物残渣或旁观者可能靠近设备的情况下。
5. 剪切螺栓保护(可选配置)
在某些Alloway破碎机配置中,除了过载保护外,还需要扭矩过载保护,因此可以采用带有剪切螺栓联轴器的辅助剪切螺栓动力输出轴装置。这种剪切销动力输出轴设计使用经过精确校准的螺栓或销,当扭矩达到预设阈值时,螺栓或销会断裂,从而立即断开传动系统,防止转子撞击坚硬的嵌入物(例如岩石或树桩根)时造成损坏。这种牺牲式保护意味着,只需使用易于获取且价格低廉的剪切螺栓动力输出轴部件即可吸收过载能量,避免其损坏昂贵的变速箱或传动系统部件。

应用场景
1. 作物秸秆粉碎
谷物或农作物收获后,由农业动力输出轴驱动的Alloway粉碎机可迅速将玉米秸秆、高粱茎秆、向日葵秸秆和大豆茬粉碎成细碎的覆盖物。由540或1000转/分动力输出轴驱动的高惯性甩刀转子产生冲击能量,能够高效粉碎坚韧的木质作物残茬,切割宽度宽广,为下一季作物的种植做好准备,并减少病害传播。
2. 路边维护
市政部门、公路部门和草坪修剪承包服务公司都依赖 Alloway S 系列碎枝机和这款拖拉机动力输出轴来维护路边、路肩和中央隔离带。Alloway 牵引式碎枝机采用等速万向节动力输出轴,使其能够显著偏离拖拉机行驶路线,深入沟渠和护栏周围等三点式悬挂设备难以到达的区域,同时还能通过大角度转向保持平稳的动力输出。
3. 牧场维护
有效的牧场管理需要定期清除茂盛的牧草、杂草、蓟草和适口性差的牧草,以促进新鲜、营养丰富的牧草再生。这款用于甩刀式碎草机的动力输出轴,在修剪牛、羊和马的牧场时,能够提供可靠的、持续稳定的性能。与旋转刀片相比,甩刀式切割方式在多石的牧场中更加安全,降低了石块飞溅的风险,使其成为畜牧作业的首选。
4. 公园和学校场地维护
对于公园、体育中心和校园等大面积草坪和场地管理,Alloway 碎草机与这款动力输出轴拖拉机组合可高效经济地覆盖大片开放区域。其甩刀式切割方式可产生适用于公共区域的精细碎屑,而 55N 型设备的超越离合器保护装置则确保操作人员在共享场地遇到行人或障碍物时能够快速安全地停止作业。
5. 果园和葡萄园维护
果园地面和葡萄园通道需要经常进行植被控制,以减少水分和养分的竞争,同时还要对落果和修剪残枝进行覆盖。由这款甩刀式粉碎机动力输出轴驱动的Alloway S15CD和S20CD型号结构紧凑、外形窄小,可安装在树行和棚架系统之间,就地粉碎覆盖作物、修剪残枝和葡萄藤残枝。粉碎后的覆盖物能够改善土壤的保水性和有机质含量,从而提高整个生长季的土壤肥力。
6.沟渠和河岸维护
灌溉沟渠、排水渠和土堤需要定期进行植被控制,以维持水流能力和结构完整性。Alloway S22CD、S25CD 和 S27CD 型拖挂式碎枝机,通过动力输出轴(PTO)与带等速万向节的甩刀式碎枝机连接,能够适应较大的侧坡,并能沿河岸轮廓行驶。在这些应用中,55N 离合器的过载保护功能尤为重要,因为操作员在涵洞和通道周围作业时,经常需要快速接合和分离离合器。

如何为Alloway碎枝机安装动力输出轴
第一步:安全第一——脱离连接并关闭电源
在开始任何安装工作之前,请确保拖拉机发动机完全关闭,动力输出轴 (PTO) 控制处于分离位置,并且已拉起驻车制动器。发动机关闭后至少等待 60 秒,以便 Alloway 粉碎机中任何残余转子惯性完全消除,然后再接近 PTO 连接区域。切勿在任何传动系统部件运转时尝试安装或拆卸 PTO 驱动轴。
步骤二:核实轴规格和动力输出轴尺寸
确认更换的动力输出轴 (PTO) 尺寸与您的 Alloway 粉碎机型号要求相符。确认拖拉机 PTO 输出转速为 540 转/分或 1000 转/分(根据您选择的轴而定),并且拖拉机 PTO 短轴的齿数和齿形与输入轴的齿槽相匹配。将粉碎机型号铭牌与列出的兼容型号(S15CD、S20CD、S22CD、S25CD、S27CD)进行交叉比对。在工作状态下,测量拖拉机 PTO 短轴与粉碎机输入轴末端之间的距离,以检查所需的 PTO 轴总长度。
步骤 3:在碎纸机输入轴上安装超越离合器
将 55N 超速运转装置滑入 Alloway 粉碎机输入轴,使 20 个内部花键与轴对齐。由于粉碎机输入轴没有凹槽,因此采用穿透螺栓连接:将随附的螺栓穿过轮毂和轴的横向孔,并按照离合器组件文档中列出的规格拧紧。拧紧前,请确认超速运转方向正确;当外壳沿与正常动力输出轴 (PTO) 方向相反的方向旋转时,离合器应空转。
步骤 4:将拖拉机末端轭连接到动力输出轴短轴
将拖拉机动力输出轴总成的拖拉机端轭架对准拖拉机动力输出轴短轴,用力推入,直至快拆环卡入短轴槽内。向后拉动轴,确认其已完全锁定。如果您的拖拉机动力输出轴短轴采用非标准花键齿数或键槽接口,请联系 CMN Transmission,讨论合适的动力输出轴适配器,以便在不影响结构完整性或扭矩容量的情况下完成连接。
第五步:固定动力输出轴护罩固定链
将动力输出轴护罩的固定链连接到拖拉机牵引杆或挂钩架以及粉碎机框架上的固定锚点。链条必须留有足够的松弛度,以适应挂钩的全部工作活动范围而不至于绷紧,但长度又要足够短,以防止支撑轴承卡死时护罩旋转。使用前,请检查动力输出轴护罩是否有裂纹、轴承破损或缺失部分,因为损坏的护罩会造成严重的安全隐患。
步骤六:试运行和最终检验
所有人员离开设备后,启动拖拉机,低速接合动力输出轴(PTO)进行初始试运行。注意是否有异常振动、嘎嘎声或卡滞声,这些都可能表明轴未对准或装配错误。逐渐将转速提高到额定工作转速,并观察传动系统是否存在晃动或不稳定。运行30分钟后,关闭拖拉机并重新检查所有连接点,确认没有硬件因初始磨合而松动。

保养提示
1. 日常操作前检查
每次使用前,应目视检查整个动力输出轴传动装置,查看护罩是否有裂纹、固定件是否松动、润滑脂嘴盖是否缺失,以及伸缩式动力输出轴管是否有腐蚀迹象。用手旋转检查超越离合器是否能顺畅地向正确方向空转。确认护罩固定链是否正确连接且长度合适。任何目视检查发现的问题都应在操作前进行纠正,以防止现场故障。
2. 万向节的润滑
每个动力输出轴万向节十字轴承组件必须每运行 8 小时使用锂基复合润滑脂或钼基 EP2 润滑脂,通过提供的润滑脂嘴进行润滑。泵入润滑脂,直至四个轴颈位置的轴承密封处均出现新鲜的润滑脂。润滑不足是动力输出轴万向节过早失效的最常见原因,尤其是在高负荷的旋耕机应用中,振动和角度循环会加速轴承磨损。
3.伸缩管润滑
动力输出轴内外管型材必须保持清洁并润滑,以防止卡滞和腐蚀咬合。每隔 50 小时,应将伸缩管完全收缩,用抹布清洁内管型材,并在重新伸展前在内表面涂抹一层薄薄的多用途润滑脂。伸缩管型材咬合是动力输出轴故障的第二大常见原因,并可能造成危险的长度锁定,从而在挂接过程中使万向节和轴轭承受过大的应力。
4. 超越离合器保养
55N 超速运转装置至少每个季度应拆卸并清洁一次。从粉碎机输入轴上拆下离合器,按照制造商的维修说明进行拆卸,用合适的溶剂清洁所有内部组件,检查棘爪或凸轮滚轮是否有磨损或凹坑,并在重新组装前涂抹新的润滑脂。如果离合器无法正常自由旋转,则每次动力输出轴 (PTO) 脱离时,反向冲击载荷都会直接传递到拖拉机传动系统。
5. 防护轴承和护罩检查
动力输出轴护罩两端的支撑轴承应按季节检查磨损情况,如果轴承转动不顺畅或护罩与旋转轴接触,则应更换。护罩与旋转的动力输出轴管接触会产生热量,加速磨损,并可能引燃作物残渣,造成严重的火灾隐患。如果护罩出现裂纹、穿孔或结构件缺失超过 20%,则应更换整个动力输出轴护罩总成。
6. 淡季存储
粉碎季结束后,用高压清洗机彻底清洗整个农用动力输出轴组件,彻底擦干,并在所有裸露的金属表面,特别是伸缩式动力输出轴管型材上,涂抹防锈保护涂层。将所有接头充分润滑,将轴水平或略微倾斜存放以防止积水,并避免紫外线照射,因为长时间的紫外线照射会导致高密度聚乙烯(HDPE)防护罩材料老化。

PTO传动轴常见故障排除
1. 运行过程中振动过大
过度振动最常见的原因是动力输出轴万向节轴承磨损或干涸、伸缩管组件因冲击损坏而失去平衡,或轴的整体角度不正确,超过了万向节的额定工作角度。检查所有四个万向节轴承座圈是否存在间隙,方法是抓住每个横臂并尝试旋转。更换任何出现松动的横臂和轴承组件。检查动力输出轴内外管的轮廓,查看是否存在可能导致不平衡的凹痕或弯曲。
2. 轴套伸缩管卡滞或咬死
伸缩式传动轴组件卡滞是由于润滑不足、腐蚀或型材管段受到冲击变形造成的。将传动轴从拖拉机和粉碎机上拆下,完全分离内外型材,如果卡死,则用渗透油清洁,并检查型材是否变形。如果型材变形严重,无法通过重新润滑修复,则必须更换动力输出轴管段。这是一项关键维修,因为卡死的传动轴在挂接过程中无法伸缩,会对万向节和动力输出轴轭部件造成灾难性的应力。
3. 单向离合器不自由运转
如果55N超速运转装置双向传递扭矩(例如,手动旋转粉碎机输入轴时,拖拉机反向运转),则内部棘爪或凸轮滚轮可能因润滑不足、腐蚀或磨损而卡死。应立即拆卸离合器,检查凸轮表面和滚轮或棘爪部件是否损坏,必要时更换磨损部件或整个离合器总成。在超速运转装置失效的情况下操作,每次减速循环都可能对拖拉机动力输出轴变速箱造成严重损坏。
4. 万向节发出咔嗒声或敲击声
轴每转一圈发出有节奏的咔嗒声或敲击声,表明万向节轴承座磨损或出现凹坑。这是一种渐进性故障,如果不及时处理,最终会导致万向节完全脱落。请立即停止使用该轴,并更换十字轴承组件。CMN Transmission 提供完整的动力输出轴 (PTO) 替换件,包括与 55N 系列组件兼容的标准 PTO 轴尺寸的十字轴承组件。及时更换可防止对轴轭和防护轴承造成二次损坏。
5. 警卫在行动期间轮换
如果动力输出轴护罩随轴旋转而不是保持静止,则说明护罩支撑轴承已损坏或固定链已松脱。请立即停止操作,因为旋转的护罩会造成严重的缠绕危险。检查护罩在拖拉机端和农具端的两个支撑轴承。使用符合原厂规格的正确轴承更换损坏的轴承。将固定链重新连接到两个锚固点,并在恢复作业前确认链条松紧度调整正确。
6. 穿透螺栓连接反复松动
如果 55N 内嵌式离合器上的穿透螺栓在运行过程中松动,可能是 Alloway 输入轴上的横向孔磨损过大,或者螺栓型号不正确。拆下离合器,检查横向孔直径,并按照 Weasler 55N 安装手册中的规定,更换为正确等级和直径的螺栓。重新安装前,在螺栓螺纹上涂抹合适的螺纹锁固剂,并按规定扭矩拧紧。切勿过度拧紧,否则会导致离合器毂孔变形,并损坏动力输出轴适配器或输入轴上的花键。
![]() | ![]() |
旋耕式碎枝机动力输出轴和旋耕式割草机变速箱
割草机动力输出轴(PTO轴)是连接拖拉机和割草机的机械动力通道。该轴由多个集成部件组成:拖拉机端轭、一组伸缩式动力输出轴管型材、两个或多个万向节(动力输出轴万向节)、农具端轭或离合器组件以及全长动力输出轴护罩。以Alloway S系列割草机为例,农具端连接到Weasler 55N超越装置,该装置与割草机输入轴相连。该轴的主要功能是将拖拉机动力输出轴输出的旋转动力以额定扭矩和转速(540或1000转/分)传递到割草机的转子轴,从而为割草机刀片的高速冲击切割提供所需的动能。
割草机变速箱(也称碎草机变速箱或粉碎机变速箱)是一种齿轮驱动的增速或变速传动装置,直接安装在割草机机架上,位于动力输出轴(PTO)输入轴和转子轴之间。其主要功能是将来自拖拉机动力输出轴(PTO)的相对较低的输入转速(540 或 1000 转/分)转换为高效割草所需的更高转子转速,通常在 1500 至 3500 转/分之间,具体取决于机器的设计。变速箱内部装有螺旋齿轮或螺旋锥齿轮、密封滚子轴承或圆锥滚子轴承,以及坚固的铸铁或铸钢外壳,所有这些部件都经过精心设计,能够承受商业碎草作业中持续的高扭矩和高速运转的需求。
割草机动力输出轴(PTO轴)和割草机变速箱是同一传动系统中机械上相互依存的部件。动力从拖拉机发动机发出,经由拖拉机内部变速箱传递至动力输出轴输出端,再经由动力输出轴传递至变速箱输入端,最后从变速箱输出端传递至驱动割草机刀片或锤头的转子轴。如果其中任何一个部件尺寸过小、磨损或不匹配,整个系统的性能和可靠性都会受到影响。例如,如果动力输出轴的万向节磨损导致振动,则会加速变速箱输入轴承的损坏。反之,如果变速箱因内部磨损而失去齿轮啮合,则会对动力输出轴的万向节和伸缩臂施加异常的循环扭矩载荷。
CMN Transmission 为割草机组件提供动力输出轴 (PTO),并兼容割草机变速箱单元,是您更换或维修 Alloway 及其他主流品牌割草机传动系统的理想之选。无论您需要直接更换适用于 Alloway S15CD 至 S27CD 的 Weasler 动力输出轴,还是需要配套的变速箱输入密封件和轴承套件,我们的技术销售团队都能协助您选择合适的组件,以恢复原厂传动系统性能并显著延长设备使用寿命。

为什么选择 CMN Transmission 的农用动力输出轴?
CMN Transmission是一家专业生产和供应农用动力输出轴、拖拉机动力输出轴及相关传动系统部件的全球供应商,服务遍及北美、欧洲、大洋洲、南美、非洲和亚洲。凭借二十余年精密传动系统部件的制造经验,我们的工厂拥有完整的内部加工能力,包括数控车削、滚齿、花键铣削、热处理、表面精加工和全面的质量检测,从而能够完全掌控动力输出轴产品的每一个尺寸和材料特性。
我们的 ISO 9001、CE 和 TS16949 认证并非徒有虚名;它们代表着经过记录和审核的生产流程,确保每一根从我们工厂出厂的重型动力输出轴都符合甚至超越原厂 (OEM) 的尺寸和材料规格。我们对关键的花键和轴承接口进行 100% 尺寸检验,并在发货前对单向离合器和滑动离合器组件进行扭矩测试。从个体农场主到跨国设备经销商,我们的客户都信赖 CMN 变速箱轴,相信它每次都能一次性正确安装。
CMN Transmission 的真正优势在于我们对响应速度和灵活性的不懈追求。与大型 OEM 品牌不同,后者非库存产品的标准交货周期通常为 3-6 周,而 CMN Transmission 备有各种标准尺寸的动力输出轴 (PTO) 库存,并可根据客户的具体 PTO 轴尺寸,在较短的交货期内定制生产 PTO 轴组件。我们的技术销售团队由经验丰富的工程师组成,他们对 PTO 传动系统应用工程有着深入的了解,随时准备帮助您选择合适的轴规格,无论是标准的 Weasler PTO 轴替换件,还是针对特殊 OEM 应用的完全定制的 PTO 轴适配器配置。
对于经销商、分销商和车队运营商,CMN Transmission 提供 OEM 和 ODM 贴牌生产、极具竞争力的批量价格以及专属客户经理服务。凭借始终如一的品质、极具竞争力的价格和可靠的物流服务,我们的产品赢得了六大洲客户的信赖。立即联系我们,探讨您的拖拉机或割草机动力输出轴需求,体验 CMN Transmission 的卓越品质。


常问问题
问:Alloway 粉碎机的 540 PTO 轴和 1000 PTO 轴有什么区别?
答:540 型动力输出轴专为动力输出转速为 540 转/分钟的拖拉机设计,通常适用于 80 马力以下的拖拉机。1000 型动力输出轴专为动力输出转速为 1000 转/分钟的拖拉机设计,常见于 80 马力以上的拖拉机。Alloway S 系列粉碎机可配置为使用这两种动力输出转速,但如果将错误的动力输出轴与错误的拖拉机搭配使用,会导致刀片转速过低(切割效率降低)或过高(可能过载损坏)。务必确保动力输出轴与拖拉机的额定动力输出转速相匹配。
问:这款产品是否可以直接替换 Alloway S15CD、S20CD、S22CD、S25CD、S27CD 型号上的 Weasler PTO 轴?
答:是的。本产品是专为上述Alloway碎枝机型号设计的Weasler动力输出轴替代品。其超越离合器与Weasler 55N系列兼容,采用相同的花键规格(20齿花键,1.750英寸大径)和相同的贯穿螺栓内螺栓连接方式。正确安装无需任何适配器或对碎枝机输入轴进行任何改装。如果您的碎枝机型号与所列型号不同,请联系我们的技术团队确认兼容性。
问:我的 Alloway 碎枝机的正确动力输出轴长度是多少?我可以定制动力输出轴长度吗?
答:正确的动力输出轴长度取决于您的具体拖拉机型号和挂接装置的几何形状。测量方法:将粉碎机连接到拖拉机上,使其处于正常工作位置,测量拖拉机动力输出轴短头到粉碎机输入轴末端的距离,然后订购一根长度不短于该测量值减去伸缩管最小重叠长度(通常为内管长度的 1/3)的动力输出轴。CMN Transmission 可根据特殊挂接装置的几何形状,定制指定尺寸的动力输出轴。
问:为什么我的 Alloway 碎枝机需要使用超越离合器而不是滑动离合器动力输出轴?
答:Alloway 碎枝机的输入轴通常没有凹槽,这意味着只能使用贯穿螺栓式超越离合器进行连接,而不能使用凹槽式滑动离合器。除了机械连接要求外,甩刀式碎枝机转子在工作转速下还蕴含着巨大的动能。当动力输出轴 (PTO) 脱离啮合时,如果没有超越装置,转子会反向驱动拖拉机传动系统。滑动离合器式动力输出轴可以提供扭矩过载保护,但无法防止反向驱动,因此不适合作为此应用中的主离合器类型。
问:我的Alloway碎枝机传动轴上的动力输出轴万向节应该多久润滑一次?
答:所有动力输出轴万向节应每运行 8 小时使用 EP2 锂基复合润滑脂进行润滑。在重型应用中,例如商业作物秸秆粉碎或路边植被清理,建议每 4-6 小时润滑一次。润滑不足是十字轴承过早失效的主要原因。缓慢泵入润滑脂,直至所有四个轴承密封面均有新鲜润滑脂流出;如果万向节无法吸入润滑脂或没有润滑脂流出,则很可能是内部卡死,需要更换。
问:除了Alloway品牌之外,我还可以将此动力输出轴用于其他品牌的割草机吗?
答:此特定组件专为使用 Weasler 55N 超越装置的 Alloway S15CD、S20CD、S22CD、S25CD 和 S27CD 型粉碎机设计和尺寸。如果其他品牌的旋耕式粉碎机使用相同 55N 系列离合器且花键规格相同,则可能兼容。但是,不同品牌的轴总长度、管材轮廓尺寸和轭架设计可能有所不同。CMN Transmission 可为许多其他品牌的旋耕式粉碎机组件提供动力输出轴;请联系我们的技术团队,并提供您的粉碎机品牌、型号和动力输出轴尺寸,以便进行兼容性评估。
问:CMN变速箱公司提供哪些PTO轴尺寸和PTO轴规格?
答:CMN Transmission 提供种类齐全的动力输出轴 (PTO),从轻型 4 系列 (CAT4) 到重型 8 系列 (CAT8),涵盖农业和市政动力输出轴的各种应用。动力输出轴的尺寸,包括收缩长度、伸展长度、轴管外径、轭孔径、花键数量和大径,均可根据您的需求进行配置。我们还备有适用于大多数系列的标准十字轴承套件、动力输出轴轭组件、动力输出轴适配器组件和动力输出轴护罩替换件。
问:CMN Transmission的农业动力输出轴拥有哪些认证?
答:CMN Transmission 的农用动力输出轴产品均按照 ISO 9001 质量管理体系认证标准生产,并符合欧盟机械指令对旋转传动部件的要求,带有 CE 标志。我们的生产设施还拥有 TS16949 汽车级质量认证,体现了我们对农用传动系统产品同样严格的流程控制标准。如有需要,我们可提供完整的认证文件,以满足进口合规或车队采购的要求。
问:动力输出轴是否带有防护罩,是否符合安全要求?
答:是的。CMN Transmission 的每套重型动力输出轴总成均包含符合 CE 标准的全长动力输出轴防护罩和带固定链的动力输出轴盖。该防护罩符合 ISO 4254-1 标准以及相关的欧盟机械安全指令中关于动力传动系统保护的要求。防护罩的屏蔽部分采用耐冲击 HDPE 材料制成,两端配有钢制端锥和滑动轴承,设计用于在内部传动系统以高达 1000 转/分的转速旋转时保持静止。
问:CMN Transmission能否为分销商和经销商提供OEM或定制品牌的动力输出轴?
答:当然。CMN Transmission拥有丰富的OEM和ODM供货经验,可根据经销商和制造商的规格提供全定制动力输出轴(PTO轴)生产服务,包括定制轴长、轮廓尺寸、轭架配置、超越离合器和滑动离合器类型以及自有品牌包装。定制生产的最低订购量可根据轴规格的复杂程度进行协商。我们与遍布六大洲的农业设备制造商、售后市场经销商和车队运营商合作,为他们提供定制或大批量动力输出轴传动系统的供应方案。

用户评价
澳大利亚牧牛场经理加里·马西森
“我们在昆士兰的牧场上用Alloway S22CD割草机已经六个季度了,这些年换了好几个动力输出轴。之前的动力输出轴在超越离合器那里彻底坏了,于是从CMN Transmission订购了这个Weasler 55N替换轴。安装非常顺利,一点问题都没有——20齿花键的轴孔直接滑入了碎草机的输入轴,穿透螺栓也顺利拧紧。现在已经用了大约200个小时,在溪边一些相当恶劣的条件下收割菊苣草和布法罗草。它比我之前在本地买的那个耐用多了。防护罩也很结实。肯定会再次购买,也会把这家公司推荐给我们地区的其他农民。”
爱尔兰车队经理德里克·弗拉纳根
“我负责州公路管理局的路边割草合同,我们用的是三台Alloway S25CD牵引式碎草机。去年春天,其中一台的等速万向节动力输出轴(PTO轴)出现了振动问题,我联系了CMN Transmission公司。他们的团队迅速找到了合适的替换规格,这让我印象深刻——55N系列,1.750英寸大径,20齿花键,贯穿螺栓式。轴在一周内就送到了,考虑到我们是从海外订购的,这速度简直令人难以置信。安装只用了大约45分钟,无需垫片,振动问题就彻底消失了。价格比原厂经销商的报价便宜了大约40%美元。现在,CMN Transmission是我们所有动力输出轴零件的首选供应商。”
亨利·布兰查德,葡萄园承包商,法国
“我们在朗格多克地区经营一家葡萄园维护公司,使用 Alloway S15CD 碎枝机在葡萄藤行间进行修剪枝条的覆盖。在法国,找到价格合理的碎枝机专用动力输出轴(PTO)一直很困难。CMN Transmission 公司寄来了 540 转/分的版本,配备 55N 超越离合器,完美适配。说实话,它的做工和原装的 Weasler 动力输出轴一样好,甚至在防护管方面可能更胜一筹。我们已经用它完成了一个完整的修剪和植被管理周期,大约 150 小时的使用,没有任何问题。他们的销售团队沟通也非常顺畅,即使是用英语交流也很愉快。”
布鲁斯·哈灵顿,新西兰牧羊人
“说实话,我一开始有点犹豫要不要从一家之前没合作过的供应商那里订购动力输出轴(PTO轴)零件,但我们当地的经销商要价三周,而且价格是我们的两倍。CMN Transmission公司正好有我们S27CD粉碎机所需的1000转/分动力输出轴现货,下单后10天就送到了我在新西兰的农场。尺寸完美匹配——直接滑入粉碎机的输入轴,用标准套筒扳手就能拧紧穿透螺栓,无需任何适配器或垫片。我们一直在高强度地使用它进行牧场翻新工作,主要是粉碎大量的牛蒡和蓟草。用了大约120个小时,没有出现任何问题。万向节感觉很紧实顺滑,即使被栅栏柱刮蹭了几次,防护罩也完好无损。非常满意。”
Rodrigo Alves Ferreira,农业承包商,巴西
“我们在圣保罗州的定制应用车队中有三台Alloway粉碎机,现在所有机器的动力输出轴都从CMN Transmission采购。质量好,价格合理,更重要的是,他们对技术问题的响应速度非常快。我咨询了55N超速装置和滑动离合器动力输出轴在我们特定应用(粉碎甘蔗渣)中的区别,当天就得到了清晰专业的解答。这些轴在非常重的物料堆积环境下运行良好。伸缩管的加工非常精细,即使被甘蔗残渣堵塞也能顺畅滑动。这家供应商显然非常了解农业动力输出轴的应用。”
安德烈亚斯·迈尔,意大利苹果园主
“我们在南蒂罗尔的苹果园里,用一台85马力的约翰迪尔拖拉机搭配Alloway S20CD动力输出轴,用于果园地面作业。原装动力输出轴的超越离合器在四个季度后就磨损了,这对于频繁接合和分离的高强度果园作业来说很正常。CMN Transmission 55N替换件附带了非常清晰的安装说明和所有必要的配件。花键孔的质量——20个花键,直径1.750英寸——非常精准,安装严丝合缝。我特意要求提供1000转/分的动力输出轴版本,以匹配我们拖拉机的配置,而他们也确实提供了。我对产品质量和服务都非常满意。运到意大利的速度也比我预期的要快。”
Michael Ostrowski,场地维护负责人,加拿大
“我在安大略省经营一家场地维护公司,我们拥有四台Alloway碎枝机——包括S22CD和S25CD两种型号。CMN Transmission是我们过去两年的动力输出轴供应商,他们的产品一直非常可靠。零件质量一流——动力输出轴护罩采用的是厚实的HDPE材料,而不是其他供应商提供的那种薄而脆弱的材料。从加拿大发货到加拿大通常需要7-9天,只要我们提前做好计划,这个时间对我们来说完全可以接受。他们的价格比从加拿大农机经销商那里采购要优惠得多,而且每次都能一次安装到位。他们的客服团队也很乐于助人,当我需要确认轴长规格时,他们总是能及时提供帮助。”
特拉维斯·霍伦贝克,农机经销商零件经理,美国
“我们在堪萨斯州的农机经销店经销Alloway碎枝机,经常需要为客户更换动力输出轴(PTO)。过去18个月,我们一直从CMN Transmission进口PTO驱动轴,质量始终如一地可靠。每根轴的尺寸都精准无误,客户也没有反馈过任何安装问题。55N型单向离合器的质量尤其出色——内部零件做工精良,离合器操作手感积极可靠。对于一家正在寻找价格合理、物流速度快且可靠的售后PTO驱动轴配件供应商的经销商来说,CMN Transmission无疑是最佳选择。”
Stefan Brandlmeier,农民,德国
“我们在巴伐利亚的农场使用Alloway S27CD型粉碎机,并订购了CMN Transmission的动力输出轴来替换磨损的Weasler部件。适配性极佳,无需任何返工。交货速度也出乎意料地快,不到10天就送到了巴伐利亚。就质量而言,该轴完全符合预期。特别是55N的超越离合器,给人留下了深刻的印象;棘轮机构的做工也十分精良。下个季节,我们将额外储备一根备用轴。强烈推荐给其他正在寻找可靠动力输出轴配件供应商的农户。”
其他信息
| 编辑 | Yjx |
|---|







