Albero cardanico per miscelatori verticali Peecon 1500CF, 1600CF, 1700CF
The PTO Shaft for Peecon Vertical Feed Mixers 1500CF, 1600CF, 1700CF is a purpose-engineered agricultural PTO shaft built to handle the demanding rotational loads of large-capacity vertical TMR mixers. Constructed from forged 20CrMnTi alloy steel with a φ54 mm hexagonal tubing profile and fitted with heavy-duty triple-lip sealed cross kits, this PTO drive shaft for feed mixer transfers consistent power from tractors rated between 80 and 180 HP at standard 540 RPM or high-speed 1000 PTO shaft operation.
Reliable PTO Shaft for Peecon Vertical Feed Mixer Models
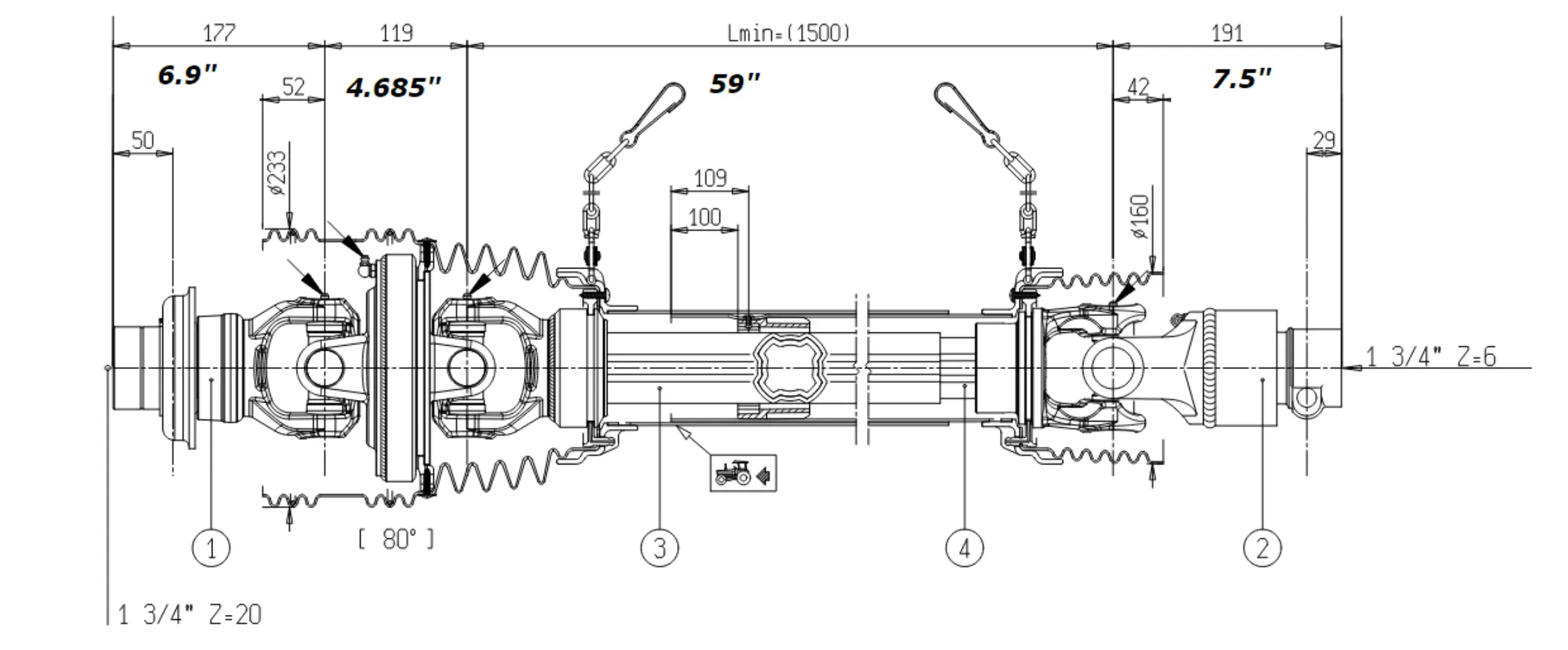
PTO Shaft for Peecon Vertical Feed Mixer Model: 1500CF, 1600CF, 1700CF
CMN Transmission's PTO Shaft for Peecon Vertical Feed Mixers 1500CF, 1600CF, 1700CF is a purpose-engineered agricultural PTO shaft built to handle the demanding rotational loads of large-capacity vertical TMR mixers. Constructed from forged 20CrMnTi alloy steel with a φ54 mm hexagonal tubing profile and fitted with heavy-duty triple-lip sealed cross kits, this PTO drive shaft for feed mixer transfers consistent power from tractors rated between 80 and 180 HP at standard 540 RPM or high-speed 1000 PTO shaft operation. Every shaft is fatigue-tested over 1000 hours on our CE-accredited square test bay, making it a true drop-in replacement of Walterscheid PTO shaft units commonly fitted to Peecon Biga, Eco Future and Twin Future mixer wagons.
This vertical feed mixer PTO shaft is field-proven across diverse application scenarios from 200-cow dairy herds in the Netherlands preparing three TMR batches daily, to mid-sized Italian beef feedlots chopping heavy silage and long-stem hay, to New Zealand sheep stations blending concentrates with chopped forage. The shaft's integrated slip clutch PTO shaft torque limiter protects the mixer gearbox against sudden overload when frozen silage clumps, root vegetables or large bales enter the tub. With its robust PTO shaft guard, wide-angle universal joints and pre-greased telescoping section, the PTO shaft for Peecon TMR mixers guarantees minimum downtime, safer daily feeding routines and a service life that typically exceeds four mixing seasons under standard agricultural use.

The original equipment is a Walterscheid 2580 PTO shaft. We can also make high-quality replacements for Walterscheid PTO shafts.
Peecon Feed Mixer Types
| MODEL | CAPACITY | # OF AUGERS | MIN. POWER REQUIREMENTS |
|---|---|---|---|
1500 | 1500 CFT | 3 | 200 hp |
1600 | 1600 CFT | 3 | 250 hp |
7600 | 1700 CFT | 3 | 300 hp |
Our research indicates most tractors use 1.750-20 spline and the input shaft is 1.750-6 spline.
Due to the newer Tractors and PTO boxes being 100% positive, many Peecon owners and dealers have gone to using an overrunning device mounted to the mixer in order to negate inertial loads. Additionally, we have had numerous requests for a longer than standard PTO.
Main Shaft: CAT 6 Constant Velocity
H8 CV Assy * 1.75-20 x1.75-6RA Overlength Peecon

S8 Overrunning Clutches
Mixer Input Requirements: 1.75" x 6 Spline
| Product Description | size 7 * S8* RA2 1.75-6 * overrunning | S8 Overrunning Clutches |
| Type of Part | overrunning device | ![]() |
| Make | Bondioli e Pavesi | |
| Modello | RA2 | |
| Serie | SIZE 7 | |
| Vendor | Bondioli e Pavesi | |
| major diameter | 1.75 | |
| number of splines | 6 | |
| cuj-end | - | |
| connection | ||
| clamp |
Features of PTO Shaft for Peecon Vertical Feed Mixer
1. Forged Alloy-Steel Construction
The entire driveline, from yokes to cross journals to PTO shaft tubing, is forged from 20CrMnTi and 40Cr alloy steel then case-hardened to HRC 58-62. This gives our heavy duty PTO shaft a 35% higher fatigue life than standard cold-stamped drivelines, allowing it to absorb the torque spikes generated when Peecon Double-Action augers bite into dense corn silage or frozen TMR blocks during winter feeding.
2. Precision-Machined Hexagonal Tubing
Unlike economy triangular profiles, our φ54 mm hexagonal PTO shaft tube delivers superior torque transmission with less profile backlash, reducing operating noise by roughly 4-6 dB compared with star-profile alternatives. The cold-drawn hex tubing is phosphate-coated and greased at the factory, enabling the telescoping sleeves to glide smoothly across the full stroke even after years of service in dusty barn and outdoor feeding environments.
3. Integrated Slip Clutch PTO Shaft Protection
This PTO shaft with slip clutch uses six friction disks rated to 2700 Nm that progressively slip during overload, protecting both the Peecon mixer gearbox and the tractor transmission from shock damage. Users can also choose a shear pin PTO shaft variant with an M10 × 60 grade 8.8 shear bolt, or an SA ratchet overrunning clutch that disengages the mixer's rotating augers when the tractor PTO is cut.
4. Wide-Angle PTO Shaft U Joint
Equipped with an 80° constant-velocity wide-angle joint on the tractor end, this PTO driveline shaft maintains smooth power delivery even during tight headland turns near silage bunkers or barn corners. The needle-bearing cross kits are greased with high-temperature lithium-moly compound and sealed with four Nitrile lip seals per journal, eliminating premature bearing failure that plagues aftermarket replacements.
5. CE-Certified PTO Shaft Guard
Every unit ships with a 2-piece polyethylene safety guard tested to EN ISO 5674, complete with chain tethers, bell cups and lubrication access ports. The guard is UV-stabilized to resist cracking under direct sunlight and remains flexible down to -30 °C, a must-have for farms in Canada, Northern Europe and Russia where morning feeding routines happen in sub-zero conditions. The PTO shaft cover is fully removable without special tools.
6. Replacement of Walterscheid PTO Shaft
CMN Transmission precisely replicates the OEM Walterscheid W2580 series geometry used on Peecon Biga 1500CF, 1600CF and 1700CF mixers. Yoke splines, closed length, hex tube dimensions and clutch bolt pattern all match the factory specification, so you simply unbolt the worn tractor PTO shaft, slide in the new unit and reconnect the shear bolt, no shimming, no drilling and no need for a mechanic.

Working Principle of Feed Mixer PTO Shaft
The PTO Shaft for Peecon Vertical Feed Mixers 1500CF, 1600CF and 1700CF operates on a classic rotary-power-transfer principle: it converts the rotational output of the tractor's power take-off into usable torque at the feed mixer's input gearbox, which in turn drives the vertical augers responsible for chopping and blending the Total Mixed Ration (TMR). The sequence begins the moment the operator engages the live PTO lever inside the tractor cab. The tractor's engine crankshaft, already spinning at around 1900-2200 engine RPM, drives a splined output shaft rotating at the standardized 540 RPM PTO shaft speed (or 1000 PTO shaft speed on higher horsepower models). Our tractor PTO drive shaft yoke, fitted with a quick-disconnect push-pin or QD collar, locks onto that splined output and immediately begins transferring rotation.
From the tractor-end yoke, rotational motion flows through the first Albero cardanico universal joint a cross-and-bearing assembly engineered to accommodate up to 80° of articulation on the wide-angle version. This flexibility is crucial because, during daily feeding, the tractor and mixer drawbar continuously change relative angles as the rig turns, enters bunker silos, or climbs ramps. The rotary motion then passes into the telescoping hexagonal PTO shaft tube, which can extend or compress by up to 400 mm to compensate for the changing distance between the tractor hitch and the mixer input as the combination articulates. The hex-profile fit between inner and outer tubing transmits torque without slipping, while the phosphated, greased mating surfaces allow smooth linear movement.
At the mixer end, a second universal joint transfers the now-aligned rotation into the PTO shaft's output yoke, where an integrated slip clutch or shear bolt assembly acts as the final safety gate. Under normal conditions the friction disks stay clamped by Belleville springs, passing the full 2700 Nm torque into the Peecon vertical feed mixer gearbox. The gearbox then steps the 540/1000 RPM input down to approximately 30-40 RPM at the auger shaft, multiplying the torque more than fifteen-fold to generate the slow, high-force rotation needed to lift, tumble and cut silage, hay, grain, minerals and molasses into a uniform ration.
If the augers encounter an obstacle, a frozen silage clump, a stray stone, or a tangled round bale net, torque spikes rapidly. The slip clutch disks begin to slip at a pre-set threshold, dissipating excess energy as heat rather than transferring it to the drivetrain. Alternatively, a shear bolt PTO shaft version will simply break its sacrificial M10 bolt, instantly disengaging power. Either way, the tractor, the PTO driveline shaft, and the expensive Peecon gearbox all stay protected, letting the operator resolve the jam and return to feeding within minutes instead of facing a multi-thousand-euro repair bill.

Applications Areas
1. Allevamenti di bestiame da latte
On modern dairy operations milking 150 to 600 cows twice daily, the PTO shaft for TMR feed mixer runs two to four mixing cycles per day blending corn silage, alfalfa hay, brewers grain, soybean meal and trace minerals. The Peecon 1500CF-1700CF paired with our reinforced PTO drive shaft delivers the steady 540-1000 PTO shaft rotation needed to maintain a 17-19% dry matter ration, directly influencing milk fat percentage, rumen health and overall herd productivity throughout the lactation cycle.
2. Allevamento di bovini da carne
Feedlot and cow-calf beef operations rely on the feed mixer PTO shaft to process high-energy finisher rations heavy in rolled barley, corn, distillers grain and chopped straw. Because beef rations often include long-stem roughage and heavier bulk, torque demand on the PTO drive shaft for feed mixer peaks during initial tub loading. Our 2700 Nm rated slip clutch PTO shaft absorbs those peaks without stalling the tractor, keeping daily feed delivery on schedule for 200-1500 head operations year-round.
3. Attività di allevamento di pecore e capre
Commercial sheep and goat dairies especially in Spain, Turkey, Italy and New Zealand use the Peecon vertical mixer for producing finely-textured rations from lucerne hay, chopped straw, sugar beet pulp and concentrate pellets. The agricultural PTO shaft supplied by CMN Transmission enables a lower 540 PTO shaft mode that produces gentler blending, preventing over-chopping of forage and preserving the long-fiber structure that sheep and goats need to maintain healthy rumen function and consistent milk yields.
4. Allevamenti di suini
Integrated swine farms increasingly adopt TMR feeding to improve feed conversion and reduce reliance on pelleted diets. The PTO shaft for feed mixer drives the Peecon vertical mixer through high-moisture corn grinding, whey mixing, and vitamin-mineral premix blending. With 1000 rpm PTO shaft capability, operators can run shorter, faster mix cycles, typically 8-12 minutes, yielding a uniform wet-dry ration that boosts average daily gain in grower-finisher pigs while minimizing feed wastage in the trough.
5. Attività legate a cavalli ed equini
Equestrian centers, racehorse training yards and large breeding studs use the Peecon 1500CF vertical feed mixer to prepare custom forage-first rations using timothy hay, oat straw, beet pulp and low-starch concentrates. The tractor PTO shaft's smooth wide-angle universal joint operation is essential here because horses are extremely sensitive to dust and uneven blending. A reliable PTO shaft for feed mixer reduces vibration, delivers consistent mixing, and preserves hay structure needed for optimal equine gut motility and long-fiber digestion.

How to Install PTO Shaft on Peecon Feed Mixer
Step 1: Safety & Preparation
Park both the tractor and the Peecon 1500CF/1600CF/1700CF mixer on level, firm ground. Chock the mixer wheels, engage the tractor parking brake, fully disengage the live PTO and shut off the engine. Remove the ignition key and wait for any rotating components to come to a complete stop. Wear gloves and eye protection. Inspect the new PTO shaft package for visible damage, and verify that the PTO shaft length, spline count (typically 1 3/8"-6 or 1 3/4"-20), and clutch type match your mixer's requirements before proceeding.
Step 2: Couple Mixer to Tractor
Reverse the tractor toward the mixer hitch eye and connect the drawbar pin, ensuring a secure locking clip is in place. Adjust the tractor drawbar height to match the mixer input shaft centerline. Peecon specifies approximately 430-480 mm from ground level. A correct drawbar height keeps the PTO shaft dimensions within safe working angles and prevents premature U-joint wear. Do NOT connect the PTO driveline shaft yet; length verification comes first.
Step 3: Verify PTO Shaft Length
Pull the two halves of the new tractor PTO shaft apart. Place the tractor-side half over the tractor PTO stub and the implement-side half over the mixer input shaft. In the fully compressed position (tractor and mixer aligned straight), the overlap of the hex tube must be a minimum of 150 mm. In the fully extended position (tight turn simulation), the two halves must still overlap by at least 100 mm to prevent separation. If overlap is outside this range, cut the PTO shaft tube and the plastic safety guard to the correct length, file the edges smooth and re-grease the splines.
Step 4: Attach Implement End
Slide the mixer-side yoke onto the Peecon mixer's splined input shaft. For push-pin yokes, depress the pin, slide the yoke until the pin snaps into the spline groove, and verify it is fully engaged by pulling back firmly. For quick-disconnect (QD) collar types, pull the collar rearward, push the yoke fully onto the spline, then release the collar. Bolt the friction clutch or fit the shear pin as specified. Attach the clutch guard safety chain to a fixed point on the mixer frame so the guard does not spin with the shaft during operation.
Step 5: Attach Tractor End & Final Checks
Slide the tractor-end yoke onto the tractor PTO stub using the same procedure. Confirm positive spline engagement pull backward sharply and verify the yoke does not come loose. Anchor the second safety guard chain to a fixed tractor reference (never to a rotating part). Lubricate both universal joints with 3-4 pumps of NLGI Grade 2 lithium grease through the supplied zerk fittings, and add grease to the telescoping hex tube. Slowly rotate the shaft by hand to confirm free movement without binding, then start the tractor at idle and briefly engage the PTO to verify smooth, vibration-free rotation before commencing feed mixing operations. Document the installation date on the grease tag for future maintenance scheduling.

How to Choose the Right PTO Drive Shaft for TMR Mixer
1. Match Tractor Horsepower & RPM
Identify your tractor's actual PTO output rating (not engine HP). For Peecon 1500CF mixers, 80-110 HP tractors running 540 PTO shaft speed are typical; 1600CF and 1700CF units benefit from 110-180 HP and frequently use 1000 PTO shaft mode for faster mix cycles. Choosing a shaft rated below your tractor's continuous torque output will cause premature failure; always size one category above your maximum load.
2. Confirm Correct Spline Profile
The tractor PTO shaft yoke must exactly match the tractor's spline 1 3/8" × 6 spline (35 mm, 540 RPM), 1 3/8" × 21 spline (35 mm, 1000 RPM) or 1 3/4" × 20 spline (45 mm, 1000 RPM). A wrong-spline yoke will not engage fully, causing chattering, spline wear and eventual shaft separation. If you operate multiple tractors with different splines, order interchangeable PTO shaft adapter sleeves instead of multiple complete shafts.
3. Measure PTO Shaft Length Correctly
Hitch the mixer to your tractor, then measure from the tractor PTO groove to the mixer input shaft groove in the shortest configuration (straight alignment). The shaft's closed length should be 25-50 mm SHORTER than this minimum distance. This prevents end-thrust damage when the rig straightens. Then check the longest extension scenario (tight turn), the shaft must not exceed 50% extension to stay safely overlapped.
4. Select the Right Overload Protection
Peecon vertical mixers typically specify a friction-type slip clutch PTO shaft set between 2200-2700 Nm. Choose a shear bolt PTO shaft if your ration is consistent and overload events are rare; choose a friction (FF) clutch if you regularly mix heavy silage, hay bales or frozen material. Ratchet (SA) clutches work well where overrunning inertia from mixer augers could damage the tractor if the PTO is suddenly cut.
5. Verify Working Angle Requirements
If you operate in tight bunker silos, narrow laneways or sloped yards, opt for a wide-angle (WA) PTO driveline shaft that handles up to 80° articulation. For flat, open feed pads, a standard 25° shaft is sufficient and more cost effective. Excessive operating angle on a standard shaft causes pulsating torque, accelerates U-joint bearing wear and vibrates the mixer drawbar, shortening overall PTO shaft life by up to 60%.

Common Troubleshooting of Tractor PTO Shaft
1. Vibrazioni eccessive durante il funzionamento
Vibration on a PTO shaft for Peecon TMR mixers is most commonly caused by mismatched universal joint phasing, a bent shaft tube or worn cross bearings. Inspect both yokes to confirm they are aligned in the same plane (phased 0°) misphasing as small as 15° creates harmonic vibration at 540 PTO shaft speed. Replace cross journals if axial play exceeds 0.2 mm. Also check that the telescoping hex tubes are not caked with hardened grease, which prevents proper extension.
2. Shear Bolt Breaks Repeatedly
If the PTO shaft shear bolt breaks more than once per feeding season, the mixer is likely being overloaded during startup. Avoid starting the PTO with a fully loaded Peecon tub always load progressively with the augers already rotating at low PTO speed. Also verify you are using the correct Grade 8.8 M10 × 60 shear bolt (do NOT substitute with higher grade bolts), and inspect the mixer gearbox for internal damage. A slipping friction clutch PTO shaft is often a better long-term alternative.
3. Loud Clunking or Clicking Sound
A rhythmic clunk synchronized with shaft rotation typically indicates a worn PTO shaft universal joint cross kit. Remove the guard, grasp the yoke and try to rock the cross any perceptible movement means the needle bearings are failing and the cross must be replaced before it destroys the yoke ears. A higher-pitched click usually signals worn spline engagement between the tractor yoke and the PTO stub, often solved by installing a new 540 PTO shaft yoke and adapter set.
4. Shaft Will Not Telescope Freely
Stiff telescoping is usually caused by contamination of the hex tubing with TMR juice, silage acids or abrasive dust. Disassemble the two halves, clean both mating surfaces with a nylon brush and solvent, inspect for scoring, and re-apply a generous coat of NLGI 2 EP lithium-moly grease. If scoring exceeds 0.5 mm depth, the PTO shaft tube must be replaced. Also verify that the safety guard bearings have not seized, as a locked guard can prevent the inner shaft from sliding smoothly.
5. Friction Clutch Slipping Prematurely
A slipping PTO shaft with slip clutch under normal load indicates that the Belleville spring tension has decreased or the friction disks are contaminated with oil. Tighten the clutch bolts evenly in a star pattern until the spring washer flattens to manufacturer spec (typically 23-25 mm remaining compressed height). If the friction surfaces show grease contamination, the disks must be replaced contaminated disks cannot be cleaned back to full torque capacity. Always run a new clutch through 5-10 break-in engagements at low load before first heavy mixing cycle.
6. Guard Damage or Rotation
A cracked or spinning PTO shaft guard is a serious safety hazard. Replace any guard with visible cracks, UV damage or broken chain anchors. Ensure the guard chain is properly tethered if the chain breaks, the guard can spin with the shaft and will quickly destroy itself. Always install the smaller bell cup at the implement end and the larger bell at the tractor end, correctly oriented to deflect contamination away from the bearings. Never operate the feed mixer PTO shaft with any part of the guard missing.

Albero cardanico e riduttore del miscelatore di mangimi
The Feed Mixer PTO Shaft and the Feed Mixer Gearbox are two interdependent driveline components that together form the complete power transmission chain of any Peecon, Supreme, Jaylor, Kuhn or BvL vertical feed mixer. Neither one can do its job alone understanding how they function and how they couple is essential for selecting, operating and maintaining a reliable TMR mixing system.
The PTO shaft is the mechanical link that transfers rotational energy from the tractor's Power Take-Off output at 540 or 1000 RPM directly to the input flange of the mixer's planetary gearbox. It does this through a combination of forged steel yokes, cross-type universal joints and a telescoping hexagonal tube, all housed inside a safety guard. Its primary purpose is to deliver torque while absorbing the constant changes in angle and distance between a moving tractor and an articulated mixer wagon. A built-in slip clutch or shear bolt acts as the first line of defense against shock loads.
The Feed Mixer Gearbox, mounted on the underside of the mixing tub, receives that high-speed (540/1000 RPM), low-torque rotation and converts it into the low-speed (28-42 RPM), high-torque rotation needed to drive the vertical auger inside the mixing tub. The typical Peecon 1500CF-1700CF gearbox uses a bevel-planetary architecture with a ratio around 14:1 to 25:1, immersed in 20-30 liters of ISO 320 synthetic oil. It generates more than 40,000 Nm of auger torque enough to lift entire round bales, chop long hay and uniformly blend dense TMR.
The connection and mutual function is therefore very direct: the PTO driveline shaft supplies consistent rotational energy, and the gearbox multiplies and redirects that energy to the mixing auger. A weak or worn PTO shaft starves the gearbox of torque and causes lugging; a failing gearbox forces the PTO shaft into overload, damaging U-joints and breaking shear bolts. CMN Transmission manufactures both components to matched torque ratings, so when you purchase a PTO Shaft for Peecon Vertical Feed Mixers 1500CF, 1600CF, 1700CF together with our compatible feed mixer gearbox, you receive a harmonized driveline designed to deliver 8-12 trouble-free mixing seasons on demanding dairy, beef and contract feeding operations.

Perché scegliere gli alberi cardanici agricoli di CMN Transmission?
CMN Transmission is a specialist manufacturer of agricultural PTO drive shafts, tractor PTO shafts, universal joint drivelines and feed mixer gearboxes, serving livestock and crop farmers across more than 80 countries and all six continents. With over 15 years of driveline engineering experience, a modern 22,000 m² production facility, in-house forging, CNC machining, heat treatment, spline broaching and assembly lines, plus a dedicated CE-accredited torque and fatigue testing laboratory, we combine European engineering standards with competitive Chinese manufacturing cost. Our products are fully certified to ISO9001:2015, CE (Directive 2006/42/EC) and IATF TS16949 automotive-grade quality management.
Every PTO shaft for Peecon TMR mixers we ship is 100% torque-tested on a calibrated dynamometer before leaving our factory not sample-tested. We support low minimum order quantities (from 10 pieces for custom orders), offer OEM branding services, hold stock of more than 150 standard driveline SKUs for emergency 24-hour dispatch, and back every agricultural PTO shaft with a 12-month warranty. Our in-house R&D team has successfully replaced Walterscheid, Bondioli & Pavesi, Weasler and Comer drivelines for thousands of farms, ensuring perfect geometric compatibility and reliable field performance. Technical support is available in English, Spanish, French, German, Portuguese and Chinese via WhatsApp, email and video call whether you need help selecting the right spline, verifying a closed length or troubleshooting a field problem, our engineers respond within 2 working hours. With competitive pricing, fast global logistics (typically 7-15 days to major ports), flexible customization and a proven quality record, CMN Transmission is the smart partner for dairy farmers, beef feedlots, sheep producers, equine operations, swine farms and custom feed contractors who need a PTO shaft they can truly depend on.


Domande frequenti
Q: Is this PTO shaft a direct replacement of Walterscheid PTO shaft for my Peecon 1500CF?
A: Yes. Our PTO shaft for Peecon feed mixer is a replacement for Walterscheid PTO shafts geometry originally fitted to Peecon Biga 1500CF, 1600CF and 1700CF vertical mixers. Spline count, closed length, hex profile and clutch bolt pattern are all identical. You simply remove the old shaft and install the new one no shimming, no adapter, no modification required on your mixer or tractor.
Q: What PTO shaft sizes and spline options do you offer?
A: Standard PTO shaft dimensions for the 1500CF-1700CF range use a φ54 mm hexagonal tube with 860-1010 mm closed length. Spline options include 1 3/8"-6 (540 RPM PTO shaft), 1 3/8"-21 (1000 RPM PTO shaft) and 1 3/4"-20 (high-torque 1000 PTO shaft). Custom PTO shaft lengths up to 2200 mm extended are also available under OEM program with a minimum order quantity of 10 pieces.
Q: How do I know the correct PTO shaft length for my Peecon mixer?
A: Hitch the mixer to your tractor, then measure from the tractor PTO groove to the mixer input groove in the shortest configuration (rig aligned straight). The PTO shaft length should be 25-50 mm shorter than this distance. We recommend you confirm measurements in the tightest turn the rig makes during daily use to ensure minimum 100 mm hex-tube overlap at full extension. Our sales team can double-check your measurements remotely via WhatsApp photos.
Q: Can this PTO shaft handle a 1000 RPM tractor?
A: Yes. The PTO shaft for Peecon TMR mixers is rated for continuous operation at both 540 and 1000 PTO shaft speeds. For 1000 RPM applications we recommend the heavier 1 3/4"-20 spline yoke which is specifically designed for higher rotational speeds and matches the Peecon 1600CF/1700CF gearbox input on higher-HP tractors such as Fendt 700 series, John Deere 6R and Case Puma 175-220.
Q: How often should I grease the PTO shaft tubing and universal joints?
A: Grease the two PTO shaft u joint zerk fittings every 8 operating hours under normal conditions, and every 4 hours if working in dusty or wet environments. Grease the telescoping hex PTO shaft tube every 40-50 hours. Use NLGI Grade 2 EP lithium-moly grease. Regular greasing is the single most important factor in extending PTO shaft life a well-greased unit easily doubles its service life.
Q: What shear bolt should I use with the shear bolt PTO shaft version?
A: Use a Grade 8.8 M10 × 60 hex head bolt with the supplied hardened washer. Do NOT substitute higher grades (Grade 10.9 or 12.9) doing so defeats the safety purpose and transfers damaging torque into your Peecon gearbox. We supply replacement shear pin PTO shaft bolt sets of 10 pieces with every new shaft. Always carry at least two spares on the tractor for emergency field replacement.
Q: Do you supply PTO shaft parts separately?
A: Yes. We stock the complete range of PTO shaft parts including replacement PTO shaft yokes, cross-and-bearing kits, PTO shaft guards, telescoping PTO shaft tubes, PTO shaft adapter sleeves, friction clutch disk sets, shear bolt kits and grease fittings. This allows you to rebuild rather than replace a worn driveline, cutting maintenance cost by up to 60%. Send us a photo of your failed part and we'll identify the correct spare.
Q: Is the PTO shaft guard CE compliant for European farms?
A: Yes. The two-piece PTO shaft cover we supply is fully CE marked and manufactured in compliance with EN ISO 5674:2009 and Directive 2006/42/EC. It includes chain anchors, bell guards, fully rotating outer shell and pre-drilled grease access ports. Documentation is supplied for farm audits in the EU, UK, Ireland, and Australia. Replacement guard sets are always stocked and ship within 2 business days.
Q: Can I order a custom PTO shaft with my own brand label?
A: Absolutely. CMN Transmission is an experienced OEM and ODM supplier for PTO drive shafts. We customize yoke spline, tube length, clutch torque rating, guard color and branding decals. Minimum order quantity for private-label agricultural PTO shaft is 10 pieces per SKU. Lead time is 25-35 days including custom tooling. We have successfully supplied branded drivelines to 30+ distributors worldwide.
Q: What is the typical lead time and shipping cost?
A: For in-stock PTO drive shafts for Peecon 1500CF/1600CF/1700CF, lead time is 3-5 business days plus transit. Sea freight to major ports in Europe, North America, Australia and South America takes 20-35 days at roughly USD 80-180 per unit depending on destination. Air express (DHL/FedEx) delivers in 5-9 days at higher cost. We quote door-to-door with all duties and taxes broken out clearly so there are no surprises.
Q: What warranty do you offer on the agricultural PTO shaft?
Every PTO shaft ships with a 12-month warranty against manufacturing defects, counting from the date of delivery. The warranty covers U-joint failure, tube fracture, yoke cracking and friction clutch spring failure under normal operating conditions. It excludes damage from overload beyond rated torque, missing grease intervals and operation with broken safety guard. Warranty claims are processed within 5 working days with replacement parts shipped via express freight.

Recensioni dei clienti
Pieter van Dijk, Dairy Farmer, Netherlands
"Been running a Peecon Biga 1600CF for about eleven years and the original Walterscheid PTO shaft finally gave up last autumn. The inner cross bearings started knocking audibly during morning feedings. Ordered the CMN replacement with the friction clutch option after checking the closed-length specs, and it arrived in Rotterdam within nine days. Bolted straight on, no modifications. We've put about 420 hours on it mixing three TMR batches daily for our 240 Holsteins and it runs smoother and quieter than the original. The hex tubing slides beautifully. Good value for money."
Marcus Hollingsworth, responsabile dell'azienda agricola, Stati Uniti
"We run two Peecon 1700CF mixers on our finishing operation and one of the PTO drive shafts broke a shear bolt three times in a single week last January, probably because of frozen silage clumps. Switched both units to CMN's friction-clutch PTO shaft with the 1 3/4"-20 spline for our Case Puma 165. About 310 hours in now and zero shear bolt issues. The slip clutch just chatters briefly when it encounters a jam and keeps going. Fit was perfect on the 1700CF input stub, no shimming required. Would recommend to any feedlot guy."
François Lemieux, Dairy Producer, Canada
"Ordered a replacement tractor PTO shaft for our Peecon Biga 1500CF last spring when the OEM unit started leaking grease from the bell cup. Delivery to Montreal took about 14 days which was a bit longer than I hoped, but the packaging was excellent and everything arrived undamaged. The wide-angle joint is clearly better than the original for our tight barn layout. Only minor issue was the documentation was printed very small. But quality-wise, really no complaints. Running at minus 25 Celsius in January and the guard plastic stays flexible."
Giuseppe Rossi, Dairy Cooperative Manager, Italy
"We feed three Peecon 1600CF mixers across our cooperative and maintenance consistency matters to us. CMN Transmission supplied us with a batch of four PTO driveline shafts last year, all identical spec, all same torque test certificate, all the same Peecon grey paint code. That kind of consistency is rare with aftermarket parts. The technical team answered my questions about spline matching for our Landini tractors within hours. Service level is top-notch. Our average runtime per shaft before first grease interval is about 220 hours."
Hans Schmidt, Milchviehbetrieb, Germany
"Bought a replacement of Walterscheid PTO shaft last October after our original on the 1600CF ran about seven years. CMN's version is CE-marked with a proper TÜV-recognized certificate, which our insurance required. The safety guard is slightly stiffer than the OEM but still well within the EN ISO specs. Price was about 35% less than quoting a new Walterscheid through my dealer. Paired with a Fendt 313 Vario at 1000 RPM and it handles wet silage, long hay, pressed pulp all day without complaint. Very pleased with this purchase so far."
Carlos Mendoza, Ranch Owner, Mexico
"Our Peecon 1500CF is mounted behind a John Deere 6125M and we work it very hard, about 6 hours a day between two milkings. The previous PTO shaft failed after 14 months. The CMN unit has been running for 19 months now with just regular greasing every 8 hours. The hex tube still extends freely even with all the dust we deal with here in northern Mexico. Good customer service too, their rep in Guadalajara speaks Spanish and helped me verify spline measurements before ordering. Shipping took about 12 days through Mexico City."
Sean O'Connor, Herd Manager, Ireland
"Over here in Ireland we mix less frequently because we're grass-based, but when we do need the Peecon 1700CF for winter TMR, it has to work flawlessly. Had a PTO shaft u joint fail right before Christmas two years ago and couldn't get a Walterscheid replacement in time from the main dealer. CMN shipped emergency next-day air freight at a reasonable surcharge and we were back feeding within 48 hours. That saved our bacon. The replacement shaft is still running perfectly today. Excellent logistics and proper engineering behind the product."
Aleksander Kowalski, Farm Owner, Poland
"Ordered the 1 3/8"-21 spline variant for our MTZ Belarus 1221 tractor because our mechanic was worried about torque with the heavier Peecon 1700CF. The custom PTO shaft arrived as promised with all documentation in English and Polish. Installation took under an hour. Pricing was really fair compared to local distributors. One small thing, the grease zerk positions are slightly different from what we expected, but that's cosmetic. Functionally the shaft has been flawless over 9 months of continuous use mixing silage, beet pulp and grain for our mixed herd operation."
Ryan Mitchell, Farm Operator, Australia
"Run a fleet of four Peecon mixers including two 1500CFs and ordered four replacement PTO shafts together from CMN last financial year. The bulk pricing was sharp and the shipping to Melbourne via sea freight was straightforward with proper crating. Each unit came individually wrapped with desiccant packs. Our local mechanic said the welds on the yokes are as clean as any Bondioli he's serviced. After about 14 months running across all four mixers with an average 650 hours each, we've had zero warranty claims. Will absolutely reorder when needed."
Informazioni aggiuntive
| A cura di | Yjx |
|---|





